Dobrý dne,
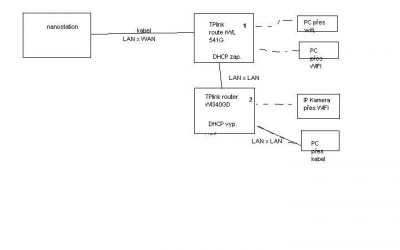
prosím o radu jak nastavit IP kameru s veřejnou adresou, v původní sití byl jedne router, nastaven virtual server na IP - kamery a fungovalo to. Nyni přidán druhý router, funguje, zařízení se připojí, ale nelze se dostat na kameru z veřejné adresy. Navím co nastavit na virtual serveru na routeru 1 a routeru 2 případně co nastavit, aby se slo dostat na kameru na routeru 2. Díky za radu. Zapojení v příloze.
Nastaveni IP kamery
Moderátor: Mods_senior
Re: Nastaveni IP kamery
Pokud je DHCP vypnuto, tak na druhém routeru nenastavuješ nic. Má kamera pořád stejnou IP jak předtím?
V SZ řeším jen záležitosti týkající se fóra. Na prosby a žádosti o technickou podporu nereaguji. Díky za pochopení.
HiJackThis + návod - HW Monitor - Jak označit příspěvek za vyřešený - Pravidla fóra
HiJackThis + návod - HW Monitor - Jak označit příspěvek za vyřešený - Pravidla fóra
-
- Podobná témata
- Odpovědi
- Zobrazení
- Poslední příspěvek
-
- 9 Odpovědi
- 6611 Zobrazení
-
Poslední příspěvek od Fargotroniac
-
- 2 Odpovědi
- 5755 Zobrazení
-
Poslední příspěvek od L.L
-
- 19 Odpovědi
- 12624 Zobrazení
-
Poslední příspěvek od jan l
-
- 1 Odpovědi
- 6276 Zobrazení
-
Poslední příspěvek od Mety
-
- 4 Odpovědi
- 6641 Zobrazení
-
Poslední příspěvek od Prorock

