Nastavení domácí sítě

Routery, modemy, Wifi AP, switche, kabely, konektory…

Moderátoři: Mods_junior, Mods_senior, HW spec team

Odpovědět
SlezyMajkl
nováček
Příspěvky: 1
Registrován: 13 bře 2018 19:02

Nastavení domácí sítě

Příspěvek od SlezyMajkl »

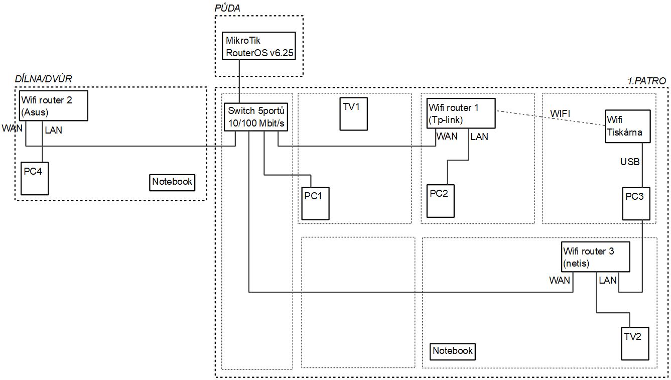
Dobrý den,
chci se zeptat jestli u takto sestavené sítě jde všechny pc a notebooky zařadit do jedné domácí skupiny(na každém zařízení jsou WINDOWS 10).Problém je, že mi routry vždy změní IP adresu. Potom bych se chtěl zeptat jestli jde udělat, aby šlo z PC1 a PC4 tisknout pomocí wifi a jak :D. PC2 je připojen přímo k routru 1, a proto mi tisknou šlo, PC3 tiskne pomocí USB kabelu. Chtěl bych, totiž dosáhnout toho, že PC3 nebude muset být při tisku jiných PC/notebooků puštěný.
Pak by mě zajímalo jestli by teoreticky šlo udělat, že když bude notebook připojený k wifi routru 2 nebo 3 tisknout(jestli přes ten router to dokáže dojít až k tiskárně).

Kdyby to nešlo tak jsem si myslel jestli by nešlo vždy před wifi routr dát switch (aby se mi neměnila IP adresa)

Z MikroTiku mi jde IP adresa 192.168.5.1

Budu moc rád za jakoukoliv pomoc, děkuji.

Tiskárna -> https://multifunkcni-zarizeni.heureka.cz/epson-l365/
Switch -> https://switche.heureka.cz/d-link-go-sw ... c5EALw_wcB
Wifi Router1 -> https://access-pointy.heureka.cz/tp-lin ... gJEALw_wcB
Wifi Router2 ->teď nezjistím
Wifi Router3 ->https://access-pointy.heureka.cz/netis-wf-2419/
Přílohy
DOM.SÍŤ.JPG
RIKI22
Master Level 8.5
Master Level 8.5
Příspěvky: 6831
Registrován: 15 úno 2016 18:38

Re: Nastavení domácí sítě

Příspěvek od RIKI22 »

Ak tlačiareň pripojíš na router cez wifi a nastavíš si router 1,2,3 , ako switch /vyhľadaj si to tu na fóre/ do LAN namiesto WAN, tak to pôjde.
Odpovědět
  • Podobná témata
    Odpovědi
    Zobrazení
    Poslední příspěvek
  • Domaci server
    od petrvorisek » » v Rady s výběrem hw a sestavením PC
    7 Odpovědi
    4692 Zobrazení
    Poslední příspěvek od petrvorisek
  • Rekonstrukce bytu - nová domácí síť
    od cervcek » » v Sítě - hardware
    1 Odpovědi
    4667 Zobrazení
    Poslední příspěvek od atari
  • Jakou laserovou tiskárnu pro domácí tisk
    od Miranda6 » » v Vše ostatní (hw)
    9 Odpovědi
    6432 Zobrazení
    Poslední příspěvek od zeus
  • Rozdělení sítě na podsítě, výpočet podsítí podle počtu hostů
    od zuzana3 » » v Administrace sítě
    12 Odpovědi
    9043 Zobrazení
    Poslední příspěvek od petr22
  • Nastavení PC a monitoru na hry
    od Fargotroniac » » v Problémy s hardwarem
    9 Odpovědi
    6586 Zobrazení
    Poslední příspěvek od Fargotroniac

Zpět na „Sítě - hardware“